11羽入赏!鸽友豪夺云南公棚决赛冠季军

2025-12-02 16:23:44.0   (6136次)  作者:云程话鸽

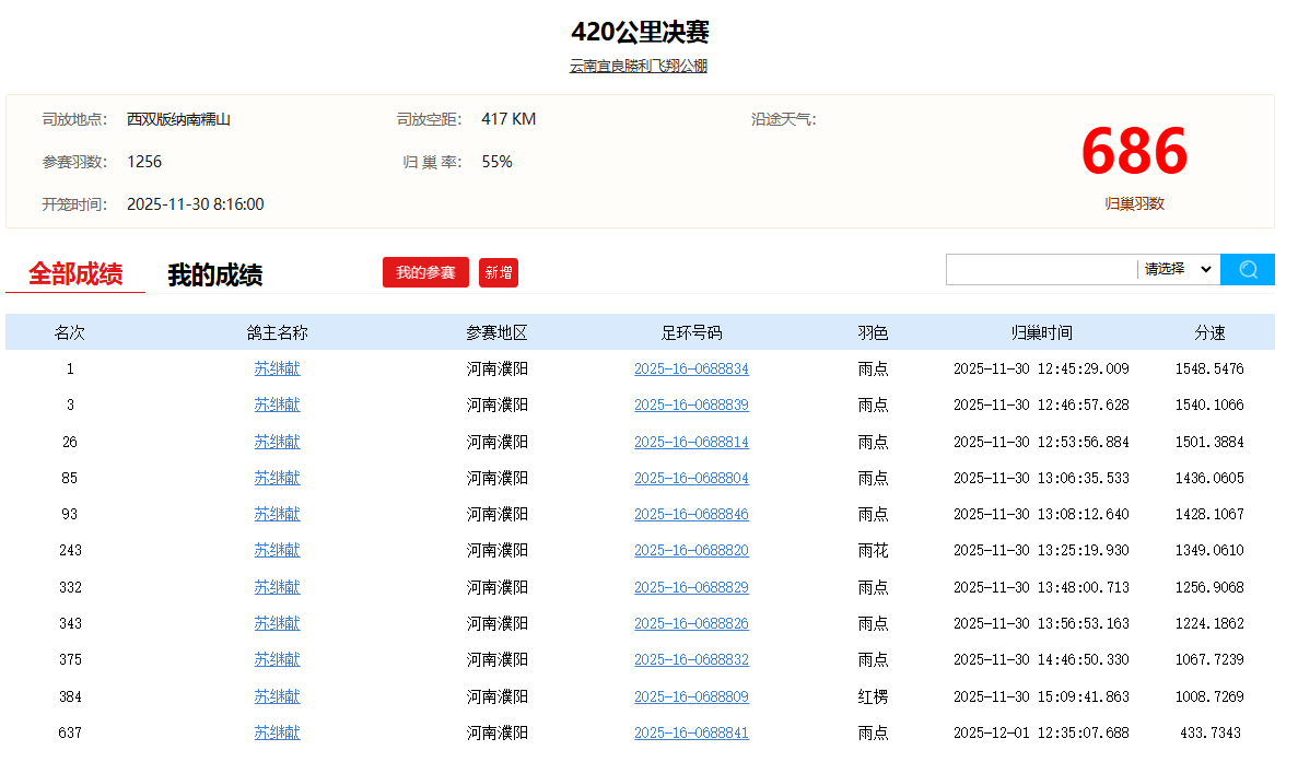
11月30日上午8点16分,云南宜良勝利飞翔公棚第三届420公里秋季决赛准时开笼,集鸽1256羽。司放地为西双版纳南糯山,参考空距417公里。按规程,本届每羽收参赛费1180元,决赛共取800个名次,前三名依次奖励30万、20万、15万。决赛报到期为时2天,放飞次日晚20点截止。

直播数据显示,本场比赛共计686羽赛鸽顺利报进,归巢率为55%。决赛冠军于当日12时45分29秒打钟,来自河南濮阳鸽友苏继献名下雨点赛鸽,足环号2025-16-0688834,平均分速达1548.5476米/分。值得一提的是,此鸽在预赛中已斩获第9名,两关接连闯入十强,战绩十分出彩。随后,苏继献名下另一羽雨点赛鸽,以1540.1066米/分的速度夺得季军,足环号2025-16-0688839。

本次决赛,冠军鸽主共计上笼14羽赛鸽,最终11羽成功归巢,全部入赏。除冠、季军外,其战队还另有三羽跻身前列,分别获得第26名、第85名和第93名,前百名独占五席,整体实力不俗。

据不完全统计,苏继献在今年秋赛共参与4家公棚赛事,累计交鸽102羽,遍及云南、辽宁、天津、河北等地。除云南勝利飞翔的高光表现外,他还斩获天津宇翔公棚加站赛第7名、河北宏冠公棚加站赛第79名。祝贺!云南宜良勝利飞翔公棚420公里决赛天津宇翔公棚加站赛第7名
云南宜良勝利飞翔公棚420公里决赛
天津宇翔公棚加站赛第7名

文章来源于网络