四千小将翻山越岭 大理巍山特比决赛开笼

2025-12-04 18:53:48.0   (6390次)  作者:彩云之南

12月4日8时29分,云南巍山县信鸽协会特比环决赛开笼司放,4288羽小将从西双版纳勐腊县振翅启航,向着归巢方向冲刺。

直播链接

本次比赛空距418公里,司放地天气晴,气温26℃,北风1-3级。本次决赛的赛线地形整体以山地为主,间有宽谷盆地,地势西北高东南低,赛鸽需要不断调整飞行高度进行爬升,对体能有巨大的消耗,期待小将们顺利归巢。

归巢消息:

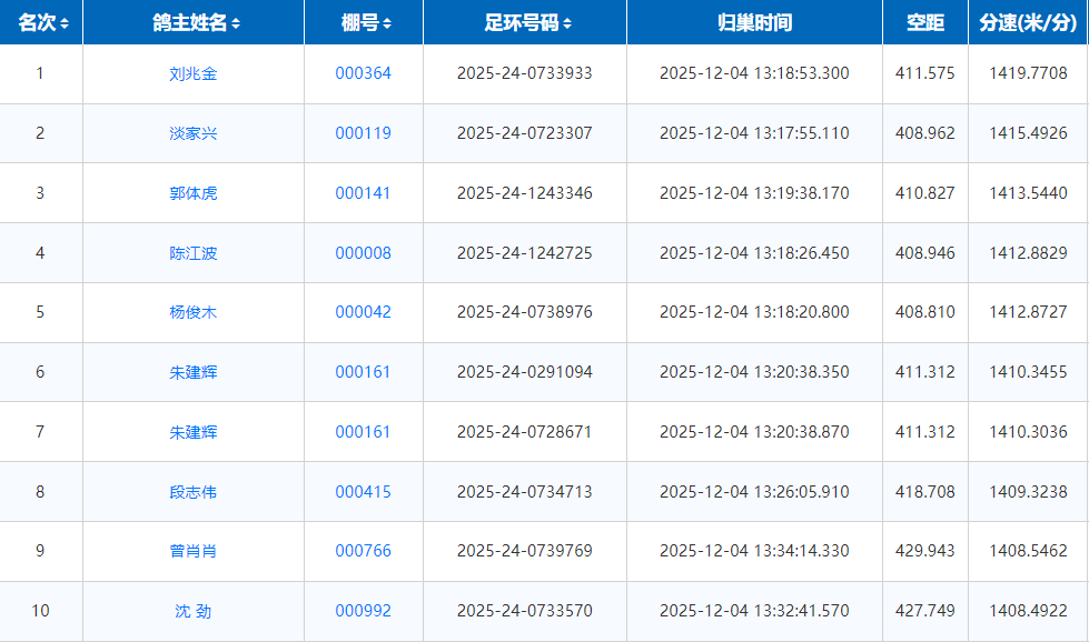
下午13时18分,鸽友刘兆金的一羽2025-24-0733933报进,空距411.575公里,分速1419.7708米/分,斩获冠军!

下午13时17分,鸽友淡家兴的一羽2025-24-0723307报进,空距408.962公里,分速1415.4926米/分,获得亚军。

下午13时19分,鸽友郭体虎的一羽2025-24-1243346报进,空距410.827公里,分速1413.5440米/分,获得季军。

截至下午16时20分,已归巢1303羽,归巢率30.29%。


文章来源于网络