当日夜行独归!海南千公里联翔冠军出炉

2025-12-17 10:40:33.0   (4968次)  作者:南海飞鸽

千公里征途,跨海越岭,连续举办二十余载的海南千公里信鸽联赛,已然成为海南鸽界的经典赛事,今年也如约而至。根据赛事规程,本次联赛依旧采用两站赛制,首站为东莞站,空距在500-700公里,已于本月初结束;厦门站则为决赛站,空距在1000-1200公里。

12月16日清晨6:45,福建厦门的天刚透着点亮,207羽赛鸽在鸽笼静静等待,随着司放员一声令下,笼门一开,两百羽小将呼啦啦一飞冲天,朝着千公里外的海南方向疾驰而去。司放当日天气晴好,北风2级,适宜飞行,参考空距948.555公里。

点击查看直播

千公里级别的赛事对鸽子体力、耐力与定向能力都是大考验,而海南的千公里联赛更添一层挑战——赛鸽们必须跨越琼州海峡及周边海域,海上气流多变,对鸽子的飞行稳定性有着极高要求。尽管本次司放天气晴好,但长途飞行中的未知因素依然不少,加上秋冬季节昼夜温差较大,仍可能给赛鸽归巢带来阻碍,这也让整场比赛的悬念拉满。

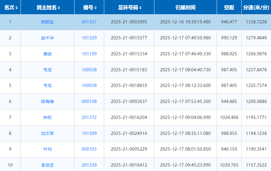
鸽友们守着直播直到傍晚,未见鸽子归巢,没想到惊喜藏在当天晚上!一羽赛鸽在当日19时30分19秒夜行归来,成为全场焦点。这羽赛鸽来自鸽友陈阳生,环号2025-21-0003095,实际飞行空距946.477公里,以1338.7228米/分的分速力压群雄,夺得冠军,也是本次联翔唯一的当日归巢鸽,展现出超强的竞技水平。

等到开笼第二天上午,更多鸽子陆续报到。

亚军由鸽友赵术华斩获,环号2025-21-0015577,实际空距990.129公里,归巢时间为第二日早07:40:50,分速1279.4849米/分。

季军被鸽友唐武斩获,环号2025-21-0015334,实际空距988.025公里,归巢时间第二日早07:46:49,分速1266.9876米/分。

值得一提的是,鸽友韦龙一连报进两羽,将第四名和第五名收入囊中,环号分别是2025-21-0015183、2025-21-0018810,实际空距987.405公里,分速为1237.8478米/分、1225.7374米/分,实力不俗。

截至10点整,共27羽鸽子平安回来,归巢率13.04%。期待更多小将能够突破自我,顺利归家。


文章来源于网络