前五进二!唐山阳光联翔二关战况揭晓

2026-04-14 09:51:33.0   (1097次)  作者:河北飞羽

4月11日清晨06:06,备受瞩目的唐山市信鸽协会&唐山阳光五关联翔赛(第二关)在内蒙古罕苏木正式拉开战幕。本次共集鸽11102羽,实际空距553.839公里。司放当日,天空晴朗,4-5级的西北风劲吹。

点击查看直播

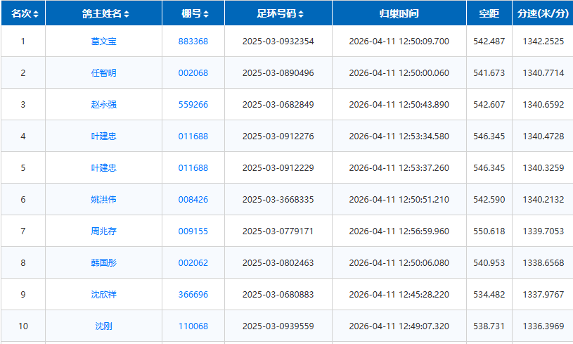
中午12:50,赛场打破沉寂,首批赛鸽陆续归巢。最终,来自葛文宝2025-03-0932354的赛鸽,以1342.2525米/分的分速率先冲线,拿下本关冠军。任智明的2025-03-0890496赛鸽随后斩获亚军,平均分速1340.7714米/分;季军则由赵永强的2025-03-0682849赛鸽获得,平均分速为1340.6592米/分。

3分钟后,叶建忠两羽赛鸽先后报进,一羽环号为2025-03-0912276赛鸽,以1340.4728米/分的速度夺得第四名;另一羽环号2025-03-0912229赛鸽荣获第五名。两羽赛鸽闯入前五,成绩十分喜人。截至4月14日上午9点,已有超过9000羽赛鸽顺利归巢,整体归巢率突破80%。

回顾4月4日进行的第一关比赛,同样好戏连台。第一关共计16012羽赛鸽在巴林左旗迎来放飞,空距503.779公里。当天,吴艳生名下的两羽爱鸽表现神勇,一举包揽冠亚军,足环号依次为2025-03-0798584、2025-03-0885918,足见该鸽友实力非凡。

精彩仍在继续,让我们共同期待后续赛场带来更多惊喜!


文章来源于网络