超半数赛鸽失联 新疆一公棚首关归巢难

2026-04-22 11:21:35.0   (264次)  作者:新疆飞讯

4月21日上午8点48分,新疆西域龙翔春棚第一关220公里资格赛正式开笼,司放地为沙湾市安集海镇,共计6657羽赛鸽参与角逐。司放地当日天气晴朗,气温10-22℃,2级东风‌;归巢地天气晴转多云,气温9-22℃,2级西南风‌,整体天气条件适宜竞翔。

查看直播

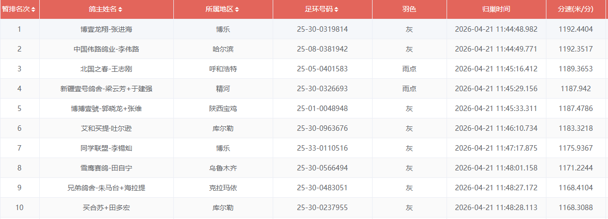
比赛进行不到三个小时,便有赛鸽归巢。来自博壹龙翔-张进海的25-30-0319814灰鸽率先报进,以1192.4404米/分的分速斩获冠军。随后,中国伟路鸽业-李伟路的25-08-0381942灰鸽,以1192.3517米/分的平均分速夺得亚军。季军则由北国之春-王志刚的25-05-0401583雨点获得,平均分速1189.3653米/分。

截至开笼次日10点23分,共计2700多羽赛鸽成功归巢,归巢率仅四成。

据悉,新疆西域龙翔赛鸽春棚2026年共计收鸽14525羽,参赛费为每羽1680元。本届赛事设置90公里收费站及四关正赛,其中决赛将录取前1000名进行奖励。


文章来源于网络