一睹冠军风采 唐山阳光联翔四关揭榜

2026-04-28 12:21:37.0   (443次)  作者:唐山飞鸽

4月25日早5点38分,唐山信鸽协会&唐山阳光五关联翔赛第四关开笼,共有8039羽赛鸽于阿鲁科尔沁迎来放飞,参考空距为556.126公里。当日天气多云,伴有3级东北风。

点击查看直播

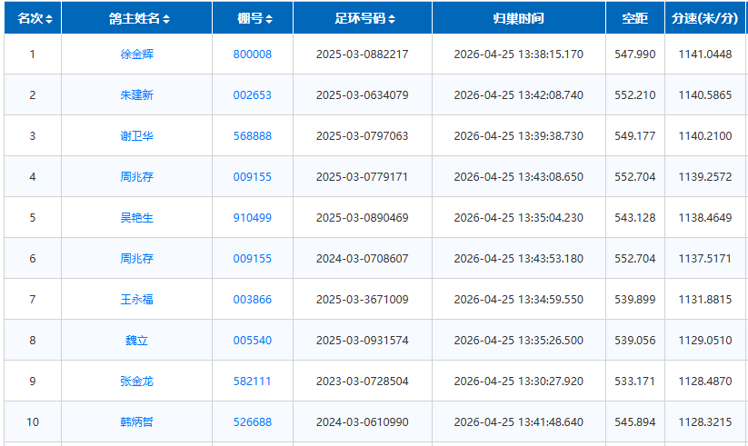
13点38分,一羽独归,是来自徐金辉的2025-03-0882217赛鸽,此鸽以1141.0448米/分的分速率先进棚,一举夺下本关冠军。4分钟后,朱建新的2025-03-0634079赛鸽随后斩获亚军,平均分速1140.5865米/分;季军则由谢卫华的2025-03-0797063赛鸽获得,平均分速为1140.2100米/分。截至4月26日下午18点前,共计6107羽赛鸽顺利归巢报到,归巢率为75.97%。

回顾前三关赛况:4月4日第一关,共计上笼16012羽赛鸽,11394羽报进,归巢率为71.16%;4月11日第二关,共计上笼11102羽赛鸽,9239羽报进,归巢率为83.22%;4月18日第三关,共计上笼9180羽,归巢率提升至89.02%。本关虽略有降低,但表现依旧可圈可点。

冠军
亚军
季军

文章来源于网络